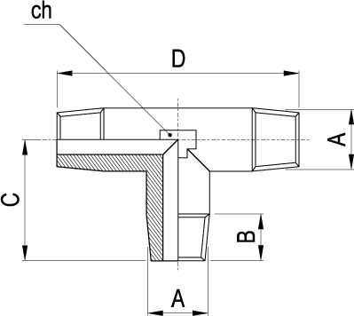
RC410 3/8 - Raccordo a T maschio conico
Codice: 36.377.0

Sigla: RC410 3/8

AB C D ch confez.codice
R3/8"11.52652175036.377.0