RC080 1/2 1/8 - Riduzione maschio-femmina conica
Codice: 36.281.0

Sigla: RC080 1/2 1/8

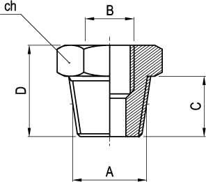
AB C D ch confez.codice
R1/2"G1/8"1419.5222536.281.0