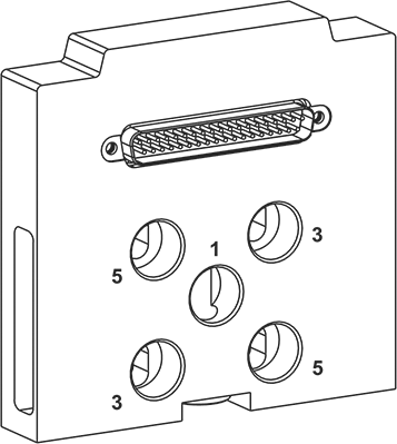
Base di ingresso connettore master 37 pin
Codice: 19.007.3