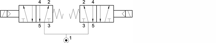
Doppia elettrovalvola 5/2 G1/8" comando elettrico, ritorno a molla
Codice: 19.001.3

Sigla: 2x521D ME