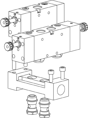
Collettore 3 posizioni per valvole a spola G1/2"
Codice: 02.043.2

codice numero posizioni A B
02.043.2 3 191 163