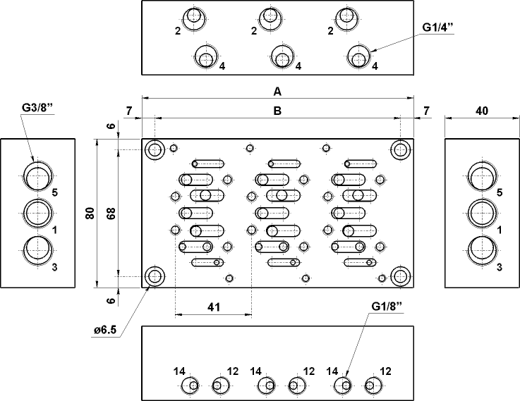
Base a 5 posti fissi per valvole ISO 1
Codice: 00.235.1

codicen. posizioniAB
00.235.15228214