Valvola a corsoio 1/4" lucchettabile
Codice: 18.010.0

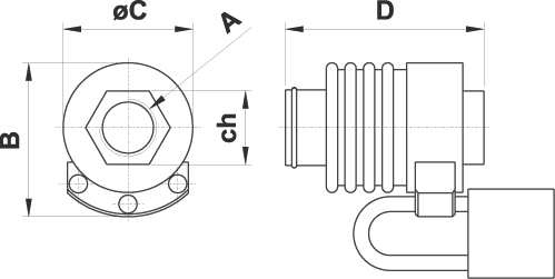
A
B
C
D
ch
G1/4"
35.6
30
46
17