Portata della valvola in funzione della pressione di alimentazione
Pressione di sblocco in funzione della pressione di alimentazione
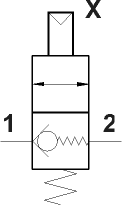
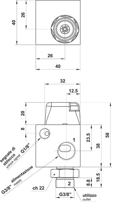
Valvola di non ritorno a sblocco pneumatico G3/8"
Codice:
11.100.4