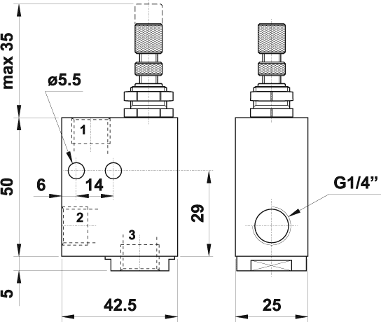
Integrato RFU + scarico rapido G1/4"
Codice: 10.016.4